关注机车网,每晚9点17分
JC君和你一起聊摩托
25年9月杜卡迪发布的2026款Panigale V4 R,其配置中有一项是之前没见过的“杜卡迪赛车变速箱”(DRG),近日这项技术的专利曝光,不出意外的是源自MotoGP的赛车技术。

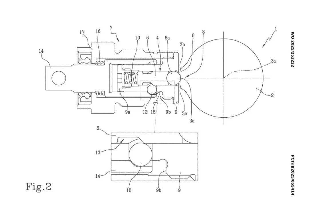
这套系统的意义在于防止误入空挡,档位变成N-1-2-3-4-5-6,普通车是1-N-2-3-4-5-6,经常激烈驾驶的兄弟都知道在弯道中不小心挂入空档有多危险,因为在操作挂入档位这个补救措施之前,都处于失去牵引力的状态。
挂入空挡,需按下右侧手把上的拨杆以解除空挡锁定,并同时踩下挡杆。

换挡顺序变了之后,驾驶员只需要无脑踩档勾档即可,完全不可能误挂空档。空挡锁止,与MotoGP赛车的结果相同,但原理简单得多。



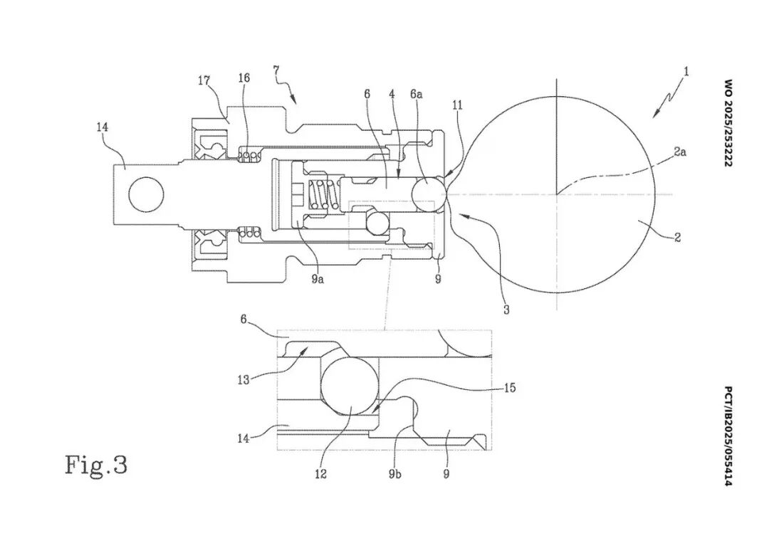
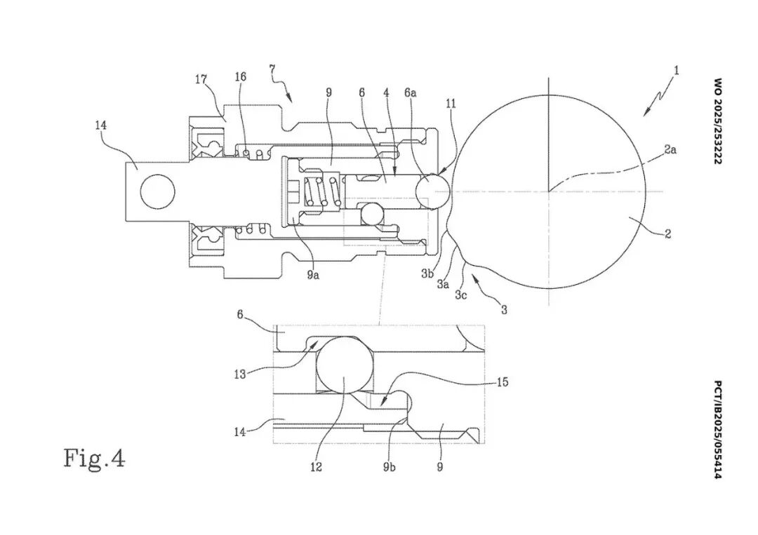
上面三张图我们可以从下往上看
行驶中:空挡位堵住
通过一个伸缩结构顶住4号栓,4号栓又通过一颗小球卡住“档位”不能进空挡
停车时:空挡位放开
停车时按下拨钮,这个伸缩结构收缩,小球自然可以活动,当“档位”滑入空档后,小球顶住,维持空档。

看似这一套逻辑并不复杂,可能到了27年,我们买到的杜卡迪的街车系列也采用了这项技术,但是对于大多数车友而言,这项技术只出现在“顶级跑车”身上就好,维修步骤还是越简单越好。

往期内容:
红车头回归,本田非双2026款更新!国内还停在22款,何时跟进?
2026款雅马哈Tracer7上市,选Y-AMT自动挡更划算







